Complètement Stone

Il y a plusieurs manières d’améliorer les performances de sa chaine haute-fidélité:

  • Une première consiste à traiter la pièce d’écoute pour en contrôler les résonances et les réflexions. Outre une mise en œuvre délicate qui nécessite un appareillage et une démarche scientifique rigoureuse à l’opposé de l’esprit audiophile, cette optimisation va très vite, hors le cas d’un auditorium dédié, entraîner une dégradation du WAF(1) très dommageable à une écoute sereine. Et puis quel mérite à avoir un bon son dans un environnement étudié dans ce but? Ce serait comme faire des courses automobiles sur un grand circuit ovale. Ça existe, ça va vite mais où est le plaisir du pilotage ? On ne saurait donc recommander cette démarche.
  • Une deuxième solution est de tenter d’optimiser les différents appareils de la chaine, éventuellement en montant en gamme. Outre que l’accumulation de matériels divers dans le salon va lui aussi dégrader le PAF(2) et aussi le PAF(3), cette solution est socialement inégalitaire car les classes sociales les plus aisées auront accès à une meilleure écoute. Pour reprendre l’analogie précédente, quel plaisir y a-t-il à battre les Twingo au feu rouge quand on roule en Porsche ?

On voit que le véritable audiophile ne doit pas se résoudre à s’aventurer sur des chemins aussi triviaux. Mais cela illustre les deux domaines d’investigation (4) de l’audiophile en quête d’absolu : l’environnement de la pièce d’écoute et l’amélioration des aspects techniques des composants de la chaine.

 Dans le premier, l’audiophile s’intéressera à éliminer les miasmes, ondes et autres mauvais esprits qui lui gâchent les séances d’écoute. On a déjà vu avec l’article sur Peter Belt comment agir dans ce domaine. Ces éléments perturbateurs ont des noms divers et variés tels que les «micros inductions de surface» -MIS- chères à OSH. Un bon moyen pour identifier ces techniques est qu’en général les entreprises qui les proposent œuvrent également dans le domaine du bien être comme on le voit ici.

shaktibigReste dans un dernier temps à améliorer la performance même des éléments hifi, et dans ce domaine, la pierre de rosette de cette démarche, celle qui permet comme son illustre ainée d’enfin comprendre le véritable sens de la musique est la bien nommée Shakti Stone.

Introduite en 1995 la Shakti Stone (de son vrai nom Electromagnetic Stabilizer) a pour but de combattre les EMI (ElectroMagnetic Interference). Bien que ce ne soit pas mentionné sur le site Shakti, la « pierre » Shakti serait également très efficace pour traiter les ECM, les DG et même les DECCA.

L’utilisation de la pierre Shakti, est extrêmement simple : il suffit de la poser au bon endroit, et le son de l’appareil traité est immédiatement amélioré.

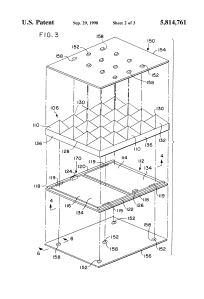
Je vois déjà certain esprit chagrin penser que tout cela flaire l’arnaque. Rien n’est plus faux. En effet un examen attentif du mode de fonctionnement du Shakti Electromagnetic Stabilizer tel que décrit dans le brevet US5814761 montre que celui-ci est basé sur l’énergie la plus puissante qui soit à savoir le pouvoir de la pyramide.

La Shakti est remplie de petite pyramides

La Shakti est remplie de petites pyramides

En effet, chaque Shakti Stone comprend une multitude de petites pyramide5 dont la disposition et les angles sont savamment étudiés (5). Ces pyramides permettent de transformer en chaleur les EMI et ainsi d’éviter qu’elles ne se transforment en distorsion et autres effets indésirables. La chaleur ainsi dégagée peut ainsi, de manière totalement écologique, être utilisée à d’autres fins. Un mode de cuisson audiophile très prisé appelé «pierrade » consiste par exemple à faire cuire des morceaux de viande sur une Shakti Stone préalablement chauffée par une écoute prolongée à fort volume de « Jazz at the Pawnshop »

Très simple à utiliser. Sortez les merguez.

La pierre Shakti est très simple à utiliser. Il ne manque que les merguez.

Il est bien évident que si on peut améliorer les performances d’un appareil électronique comme un amplificateur ou un lecteur optique, les mêmes moyens peuvent être mis en œuvre pour améliorer les performances des automobiles. C’est ce que propose Shakti (et son concurrent Albat qui lui, travaille sur la « cohésion moléculaire »). Ces améliorations sont tellement évidentes que les revues automobiles sérieuses ont publié de nombreux essais comparatifs qui ont montré la diminution de la consommation, la réduction des temps du 1000m départ arrêté et l’augmentation du volume du coffre quand on utilise une Shakti Stone. Qui a déjà suivi la Formule 1 aura également constaté combien les commissaires sont attentifs lors des contrôles techniques à la présence déloyale de ces dispositifs.

Too much is not enough. Shakti propose aussi de contrôler les vibrations dans la pièces. de quoi se gondoler.

Too much is not enough. Shakti propose aussi de contrôler les vibrations dans la pièces.à l’aide de cet élégant porte-manteaux. De quoi se gondoler.

Mais ce qui est interdit en course automobile est autorisé chez vous. Grâce à la Shakti Stone, dans le confort ouaté de votre salon, les Twingo/Nad pourront enfin battre les Porsche/Accuphase.

Pour aller plus loin : le site de Shakti Innovation est bien entendu une recension très étayée de positive feedback.

(1) Il ne s’agit nullement d’une remarque sexiste. Le vrai terme scientifique serait le PAF (Partner Acceptance Factor) si cet acronyme n’était déjà utilisé.

(2) J’ai bien compris les critiques des lectrices sur le point précédent. Désormais j’utiliserai le terme PAF.

(3) Rien à voir avec ce qui précède. Il s’agit du Paysage Audiovisuel Familial au sens littéral du terme.

(4) Il y en a en fait un troisième, la voie royale de l’audiophile, qui joue sur l’interaction entre les éléments de la chaîne. On veut parler bien évidemment des câbles. Une petite astuce dans ce domaine consiste à mettre entre deux appareils des câbles dont le coût est égal ou supérieur à la somme des prix des deux appareils reliés. En stéréo, si cette inégalité est vérifiée pour le cordon de chacune des voies monophoniques, cela signifie que le prix total des câbles est au moins le double de celui des appareils, le système sera dit « double mono».
(5) La lecture du passage du brevet où l’on décrit les dimensions des pyramides me fait irrésistiblement penser à la célèbre description du kiosque par Agliè dans Le Pendule de Foucault d’Umberto Eco.

3 réflexions sur “Complètement Stone

  1. Comme en chaque audiophile il y a un automobiliste qui sommeille ( ce qui n’est grave tant qu’il n’est pas au volant), à moins que ça ne soit l’inverse; je tiens à mettre en garde concernant l’utilisation de la Shakti Stone en voiture.
    Il est scientifiquement prouvé que cette pierre permet la réduction de la consommation par récupération et condensation des vapeurs d’essence non brûlées qui sont réintroduites dans le réservoir. Malheureusement, il arrive parfois que le système s’emballe provoquant le débordement du réservoir pouvant aller jusqu’à l’incendie du véhicule.
    Prudence donc !

    J’aime

  2. Pingback: To be and not to be | Tryphonblog

  3. Pingback: Il y a quelque chose de pourri au royaume du Danemark | Tryphonblog

Laisser un commentaire