La réalisation d’enceinte présente un avantage certain pour les fabricants audio. Mettre n’importe quel(s) haut-parleur(s) dans une boîte faite à la va-vite n’empêche pas qu’une fois branchée, un son va en sortir. Avec le même niveau de compétence et de soin accordés à la conception et à la réalisation, le fabricant d’électronique n’obtiendra… rien dans la majorité des cas pour les amplificateurs à transistor, ou une bombe incendiaire dans le pire des cas pour les réalisations à tube.
Après, il s’agira de surtout de bâtir un superbe discours marketing pour vanter les mérites de l’objet et de trouver quelques gogos audiophiles pour les acheter à un prix sans rapport avec le contenu physique et immatériel (R&D) de l’objet.
Heureusement, tous les fabricants d’enceinte ne sont pas dans ce cas et, à côté de marque qui s’enorgueillissent d’un galimatias pseudo-scientifique à base de courbe de réponse, chambre anéchoïque et autre interférométrie laser, on trouve des concepteurs sérieux qui ont le cerveau entre les deux oreilles. Enfin, surtout les deux oreilles car ce sont elles qui vont aider à la mise au point des enceintes, dans un environnement réel, par exemple leur garage, plutôt que dans des endroits sans rapport avec l’utilisation finale comme des chambres aussi sourdes que leurs utilisateurs et autres auditoriums totalement artificiels. C’est à un de ces créateurs passionnés que nous allons consacrer cet article.
Weber Louis Rehde, d’origine danoise, n’eut pas l’audio comme première passion. Au contraire sa passion de jeunesse fut le tuning automobile. Il devint une sorte de célébrité locale dans son Jura d’adoption grâce à ses réalisations sur base 4cv et Simca Aronde.
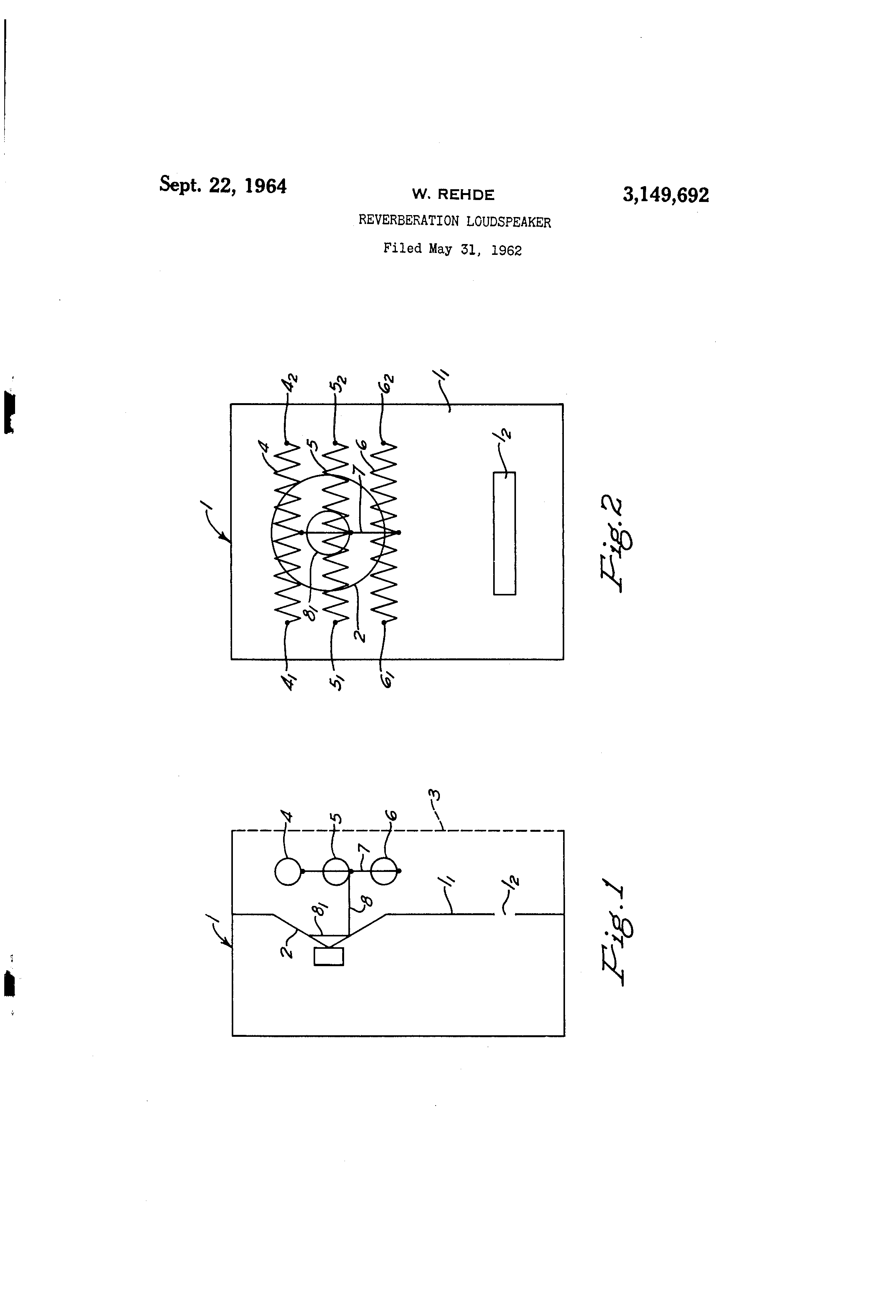
Sa vie bascula le 18 février 1961. Ce jour d’hiver particulièrement froid, il entreprit de bricoler sa fidèle Renault Ondine. Etait-ce le froid qui engourdissait les doigts ? L’effet des nombreux verres de marc du Jura qu’il avait pris pour se réchauffer ? Mais un mouvement maladroit fit tomber la boîte de ressorts de soupape près du tablier de la Renault (1). Dépité de devoir démonter l’autoradio, pour récupérer les ressorts, et aussi il faut bien le dire, pour se resservir une lichette de marc, Weber Rehde s’assit un instant à l’avant de la voiture et alluma le dit autoradio. Et la SURPRISE, le son était d’une ampleur et d’un raffinement qu’il ne connaissait pas. Profitant de la relative chaleur de l’habitacle, il démonta le tableau de bord pour trouver ses précieux ressorts coincés devant la membrane du haut-parleur.
De cette expérience fortuite, digne de la découverte de la vulcanisation par Charles Goodyear, naquit une nouvelle vocation.
Des 1962, il dépose un brevet pour les résonateurs à ressort, et dans la foulée crée la marque prestigieuse qui figure au panthéon de l’audiophilie, Rehdéko. Weber imagina ce nom qui résonne (c’est le cas de la dire) encore dans tous les mémoires à partir de son patronyme Rehde et de « écho » par allusion à l’effet des fameux résonateurs.
Mais surtout, il en conçut un attachement pour les hauts-parleurs ellipsoïdaux, commun aux autoradios de l’époque. De même, en hommage à la marque de l’autoradio à l’origine de sa révélation, Blaupunkt, il choisit le bleu pour le logo de son entreprise et la couleur des membranes de ses futurs haut-parleurs.
S’inspirant de son cher autoradio, Rehdéko développe toute une gamme d’enceintes caractérisées par des haut-parleurs à faible excursion, membranes en papier bicônes et haut rendement.

De ses origines scandinaves matinées de culture franc-comptoise, Weber Rehde sut garder un profil bas qui se traduisit notamment par le prix très contenu de ses enceintes et par des publicités empreintes de réserve et de modestie comme le montrent les exemples suivants.

D’ailleurs cette modestie se retrouva dans la réserve que manifesta Rehdéko pour mettre des enceintes à la disposition des magazines et on trouvera très peu de bancs d’essai de ces enceintes dans la presse. Ce qui n’empêcha pas l’entreprise d’aider cette presse spécialisée en passant des publicités très régulièrement – en fait dans chaque numéro.

Mais qu’importe, car c’est à l’écoute que se juge une enceinte et les enceintes Rehdéko sont fabuleuses. Ou pour être plus précis, fabuleusement colorées. Conçues pour être utilisées dans un environnement réel; elles disposent d’un contrôle très précis de le bande passante pour une bonne intégration domestique. Ainsi, elles se caractérisent par une absence totale de fréquences graves pour ne pas devenir envahissantes et par des aigus tronqués pour éviter les risques de stridence. De même, le profil très étudié des membranes, de grand diamètre (si on peut dire pour des haut-parleurs elliptiques !) avec un bicône permet d’avoir une directivité des hautes fréquences très prononcée et particulièrement aléatoire et irrégulière. Cette caractéristique unique pouvait d’ailleurs déconcerter les potentiels testeurs des enceintes Rehdéko et une mention spéciale était apposée au dos des enceintes afin de décourager toute prise de mesure.

On conçoit que des enceintes aussi sophistiquées ne pouvaient pas être élaborées sans un matériel de pointe et Rehdéko installa un des meilleurs laboratoires d’electro-acoustique européens (sic) de très haute technologie.
De même Weber Rehde reconnut très vite l’apport d’un support dédié pour sauvegarder la sonorité exceptionnelle de ses enceintes. Attaché au confort de son transat Lafuma où, après une longue journée de labeur, il avait pris l’habitude de siroter – avec modération – les arômes délicats de Savagnin de son marc du Jura, Weber s’en inspira afin de dessiner des pieds sur lesquels ses enceintes seraient aussi bien installée que lui sur sa terrasse.

Malheureusement, le réseau de distribution ne sera jamais à la hauteur des efforts technologiques déployés et constituera toujours le point faible de la marque. C’est probablement ce qui empêcha Rehdéko de devenir l’équivalent d’un Focal ou d’un B&W. Mais parmi les rares personnes qui ont eu l’occasion de les écouter, seules quelques mauvaises langues (ou plutôt mauvaises oreilles) furent assez critiques sur le résultat sonore. Ce très faible nombre – qui dépassa rarement les 99% de critiques désobligeantes – nous permet de dire que ces enceintes font réellement partie des réalisations d’exception et à ce titre méritent largement un trophée tout aussi exceptionnel : un TTaward.
La marque disparaîtra en 2001. On peut s’étonner de d’une disparition si brusque. Mais, comme les lobbys pétroliers ont réussi à enterrer le moteur à eau de Jojon et Chambrin, le lobby des industriels de l’audio est venu à bout de Rehdéko, tant ces enceintes tellement supérieures et dont le rendement ne nécessitait que des amplis ridiculement peu puissants menaçaient l’existence même de ces industriels. Cela ne se fit pas sans des actes d’une déloyauté extrême comme par exemple en ridiculisant la marque et son créateur, ou même pire, en proposant des écoutes comparatives.
Face à cette fronde, Rehdéko tenta de se reconvertir sur d’autres marchés. On sait que le Jura est le berceau de la fabrication de jouets et porté par cet environnement, Rehdéko se lança dans une copie du Scrabble qui avait l’avantage de corriger automatiquement les fautes d’orthographe. Malheureusement, une fois de plus le lobby ludico-industriel vint mettre son grain de sable et en raison d’un conflit de licence avec l’éditeur Hasbro, Rehdéko dut modifier son jeu pour ne laisser figurer que des lettres R. Il semble que l’agrément du jeu en fut sensiblement dégradé ce qui eut un effet dommageable sur les ventes. Heureusement, l’imagination fertile de notre ineffable Laurent Thorin, permit d’écouler les stocks de lettre R auprès d’audiophiles joueurs.
Pour aller plus loin : le site de référence sur Rehdéko. Face à cet exercice hagiographique, on pourra préférer le post tout en nuances de Jipihorn. La marque a maintenant disparu mais pour les nostalgiques, il reste la solution du bon coin. Ou en neuf on pourra tenter d’écouter les enceintes Tocaro, d’inspiration assez voisine. À ma grande honte et malgré le discret hommage rendu à mon travail, je ne les ai jamais écoutées ces dernières.
(1) Le fait que sur la Renault le moteur soit à l’arrière en dit long sur la quantité de marc que Weber avait déjà ingurgité avant même de se lancer dans la réparation de l’Ondine.






Mouai
A part les nombreuses fautes de frappe, c’est quoi le délire ?
Même en prenant du recul, j’ai cherché le second degré, je ne l’ai pas trouvé, je dois être trop bête.
J’aimeJ’aime
Ah si ça doit reprendre une vieille chanson de Francis Cabrel » et ça continue encore et encore, c’est que le début,d’accord d’accord «
J’aimeJ’aime
finalement content que l’on parle encore de ces enceintes plus de quinze ans après l’arrêt de la fabrication.
Au fait si vous voulez réellement en écouter une paire n’hésitez pas à me contacter.
Ne me dites pas que c’est déjà fait, c’est pas bien de mentir.
Stéphane Misslin
J’aimeJ’aime
Dommage de ne pas voir mes commentaires
J’aimeJ’aime
Pour avoir écouté à plusieurs reprise ces enceintes que je qualifierais ‘hors des sentiers battus’, j’avoue que j’ai beaucoup été intrigué par ces produits et surtout par le personnage emblématique qu’était Weber Rehde !
C’était un poète du son et bon musicien, plus qu’ingénieur, ce qui lui a permis de dépasser quelques idées reçues de l’époque (« le fou ne savait pas que c’était impossible, alors il l’a fait ! »).
Weber Rehde ‘sentait’ plus l’acoustique qu’il ne l’a maitrisait vraiment. Notre oreille est très sensible aux variations rapides de niveau sonore et c’est sans doute là que résidait la principale qualité des ses enceintes. En fait, sans le savoir, il faisait fonctionner les haut parleurs dans leur partie résistive de rayonnement et non dans leur partie réactive, d’où le rendement étonnant et la dynamique ! J’avoue que je me suis inspiré largement des ces travaux pour les enceintes A2t dans les années 90, puis Prosodia maintenant.
Comme je le dis régulièrement à mes étudiants lors de mes cours à l’INA puis à la SAE : la mesure n’est pas la réalité, mais simplement un modèle mathématique partiel et rassurant intellectuellement et si celle-ci est utile, il faut savoir en déterminer ses limites.
En tout cas, je suis le premier à rendre hommage à cet inventeur passionné !!
J’aimeJ’aime
Je possède des Rk 25 , que j’ais Trouver ! ,c’est magique dans tout les sens du terme ! .
J’aimeJ’aime
Je connais bien la marque, ses qualités, ses défauts, et son histoire. Je connais l’article de jipihorn, qui est un électronicien de talent, assez pédagogique, mais hélas un peu arrogant. Toutefois, je lui reconnait du talent. Mais ici, je fait face à un article mensonger, écrit sur le ton du second degré, il faut le dire de manière assez médiocre. La vacuité argumentaire et technique est évidente, mais elle atteint son paroxysme avec l’aveu éhonté d’une malhonnêteté assumée « je ne les ai jamais écouté ». Bref cette diatribe est malhonnête et matinée d’incompétence. Sans intérêt.
J’aimeJ’aime
Dans les années 60 et 70, j’ai longtemps été intrigué par ces publicités qui rappelaient les réclames des années 30 par leur surenchère de superlatifs et de naïvetés. Des enceintes pour gogos, me disais-je, et la vue des haut-parleurs confirmait cela.
Pourtant, il m’est arrivé dans un salon d’écouter ces enceintes et j’en ai été agréablement surpris. J’aimerais bien en écouter une paire aujourd’hui pour confirmer ou infirmer cette impression lointaine et subjective.
J’aimeJ’aime
Écoute une paire de RK 175 avec , par exemple, un ampli 300 B de deux fois 6 watt et tu verras que ton article, pour être très drôle, n’en est pas moins injuste . Il y a du grave , de l’extrême grave même, des timbres riches , de la profondeur, une hyper définition qui fait entendre tous les détails d’un enregistrement (et donc aussi les défauts…. elles ne pardonnent rien !),une dynamique extrême qui peut même paraître excessive et, preuve de leur neutralité , lorsqu’on est juste à côté de l’enceinte, on ne localise quasiment pas d’où vient le son comme avec les meilleurs haut-parleurs électrostatiques ou les enceintes ZU écoutées récemment, elles aussi à très haut rendement.
Il est juste dommage que Weber Rehde soit parti avec ses secrets du traitement des membranes, son propre fils Joël ne connaît pas précisément la nature du traitement des membranes du HP grave. La marque ne pourra pas renaître comme Audioanalyse ou Pathé-Marconi .
L’idée géniale de Weber a été de chercher à reproduire les harmoniques plutôt que de chercher une réponse linéaire avec des fréquences pures. La courbe de réponse des hp Rehdeko est non linéaire avec des fréquences pures et elle est à interpréter comme une courbe de sensibilité, avec une bosse là où il y a plus d’informations à reproduire . Comme l’oreille qui a une sensibilité accrue ds le médium.
L’autre idée géniale c’est les fameuses (et fragiles) coupelles qui diffusent le son ds toutes les directions de telle sorte que on a plus de niveau sonore à distance des enceintes, où se combinent les sons directs et réfléchis, que près d’elles . Ce qui fait aussi que l’acoustique de la pièce d’écoute est très déterminante ds la qualité d’écoute. Ça peut être un casse-tête et ça explique aussi que les démonstrations lors des salons pouvait être décevante.
J’aimeJ’aime
Il n’est pas dans notre ligne éditoriale de répondre aux commentaires mais toute règle mérite une exception. Il me parait assez présomptueux d’imaginer ce que nous avons pu écouter ou ne pas écouter, même si il faut bien avouer qu’en l’espèce nous n’avons pas écouter simultanément des Rehdéko alimentées par un ampli 300b (des Western Electric vintages bien sur) que l’on imagine mono triode, équipé de transformateurs Hashimoto – que son nom soit éternellement béni – et dont le câblage est évidemment en argent. Et encore moins dans une pièce spécialement construite pour en atténuer les défauts flagrants.
J’aimeJ’aime
Rien de tout cela, je les écoute ds une pièce mansardée qui était la chambre de ma fille, seulement avec un tapis au sol . L’ampli n’est qu’un modèle 300B type Verdier kit de « la maison de l’audiophile » construit par un ami électronicien (les lampes sont des Tesla) , drivé pas un préampli Audiofolia Farfadet acquis en 2003 un lecteur Sony 777es de 2001 ou une platine McIntosh MT5 avec une Ortofon de moyenne gamme et un préampli Lehmann. Le câble de modulation est fait maison à partir de câble Mogami et pour les hp du simple câble Elipson et non un « tuyau d’arrosage » au prix stratosphérique… donc rien d’ésotérique. Elles repos sur un piédestal maison .Je les ai fait écouter à mon « co-grand-père » ingénieur mais aussi pianiste de haut niveau. Il a été émerveillé, il a été attentif à des détails tels que le legato, la richesse harmonique, l’extinction des notes …. « tu as trouvé ton Graal » …. « tu ne trouveras rien de mieux » m’a t’il dit en conclusion. Et il a eu du mal à arrêter l’écoute « on pourrait les écouter toute la nuit ».
Faut pas avoir d’à priori comme ça, ça rétrécit le champ de conscience….
J’aimeJ’aime
Je n’ ai pas bien compris pourquoi ils utilisaient du câble DNM lors de leurs démos, j’avais testé ce câble avec mes 250ti , il avait réussi à les rendre maigres ds le grave, c’ est un comble !. Lors de leur premières démos, avant la « mode » des câbles ésotériques ,ils utilisaient du cordon banal, et il y avait du grave…. je soupçonne un accord commercial avec ce constructeur….
J’aimeJ’aime
What a clown, this „Tryphon“, just ridiculous..
Rehdeko are by far the best speakers on the whole world market for the live music experience at home.
Only few Western Electric Horns, or JBL Sato Horns come close, but can‘t reached their performance.
Great audio engineers like DNM an Dartzeel used Rehdeko for the amplifier developerment. „If you have a tiny problem in the cuircit you can easily hear it, they are great design tools…not poor Hi-Fi sounding, they sound like the real thing, like music.“
Why great musicians with worldwide reputation like Lorin Mazel, Buddy Guy, Dee Dee Brigdewater hear with Rehdeko….?
Weber Rhede (engineer and musicians) „was a real magician“…(Serge from Dartzeel).
From my point of view.: Nothing to add.
J’aimeJ’aime
Who is the clown ?
I will not argue about personal tastes, even the stranger ones.
But I have to correct a very factual mistake in this otherwise interesting comment.
Weber Rhede, linked by marriage to the famous Gruss circus family, was not a ‘magician’ but…
A CLOWN.
His stage costume is even on display at the ‘centre national du costume de scéne’ in Moulin (France).
From my point of hearing, nothing to withdraw.
J’aimeJ’aime
Ah ah ah ah ah ah ah ah !
Ça c’est drôle, en effet ça c’est de l’argumentation, bravo…..
J’aimeJ’aime
Tryphon n’a jamais écouté les Rekdeko….
Et il les juge Négativement parce que leur conception lui paraît simple et les hp basiques….peut-être qu’avec quelques chromes, un membrane constituée d’un matériau exotique « issu de la recherche spatiale », une enceinte à la forme tarabiscotée ,cela lui inspirerait confiance et il daignerait les écouter.
J’aimeJ’aime
Je ne sais pas d’où vient l’idée que je n’ai pas écouté de Rehdeko, sans doute parce qu’il est impensable que quelqu’un n’est pas révélation quasi-mystique à l’écoute de ces « fabuleuses » enceintes.
Il est donc vrai que je n’ai jamais écouté les « Rekdeko » (sic) mais aussi que l’écoute des (une paire de) Rehdeko ne m’a pas donné la confiance ni surtout le courage d’expérimenter plus avant dans la fabuleuse gamme.
J’aimeJ’aime
Si vous mettez un accent sur « donné » mettez en un aussi sur Rehdéko.
Merci.
Puisque que vous en êtes là……
J’aimeJ’aime
Es gibt wohl wenige Lautsprecher die kontroverser diskutiert werden als die Schöpfungen von Weber Rhede. Der angenehme Herr, den ich noch persönlich kennenlernen durfte, hat meines Erachtens nach etwas Magisches erschaffen. Viele meiner hifidelen Freunde sehen das zwar völlig anders aber es bewiest nur, wie verschieden die Erwartungen an musikalische Kommunikation sind. Jeder hört mit den eigenen Ohren auf das, was ihm bei der Musik am wichtigsten ist wobei letztendlich der Musikgeschmack – das Genre – absolut entscheidend ist.
Seit über 25 Jahren bin ich begeisterter Rehdekohörer und habe bis in weit höhere Preisbereiche hinein trotz regelmäßiger Messebesuche und Höreindrücken bei ebenso « verrückten » Freunden bislang kaum etwas entdecken können, was mich auf Dauer mehr fasziniert als diese archaischen Kisten.
Es gibt zwar mittlerweile Besseres, insbesondere was die Verfärbungsfreiheit und Auflösung des Musikgeschehens angeht, aber nicht viel und wenn, dann muss in der Regel dafür deutlich robuster in die Tasche gelangt werden.
Also, absolute Hochachtung meinerseits für die Lebensleistung dieses Mannes!
Er war meiner Meinung nach ein Genie.
Weiter viel Vergnügen mit unserem schönen Hobby.
Bleiben Sie dran.
J’aimeJ’aime
Aujourd’hui,28 septembre 2020,je suis catastrophé car je n’ai plus de basses dans mes REHDEKO RK50…J’ai beau écouter la musique avec d’autres enceintes,au bout de qq minutes,je craque,alors que je pouvais écouter pdt des heures en prenant de plus en plus de plaisir la musique avec mes RK50…plutôt Rock-Pop,mais très éclectique cependant.
Je vais acheter d’autres enceintes,mais dés que l’occasion se présentera,aucune hésitation..
Très cordialement.
Daniel Wimmer.Rangiroa.Polynésie Française…
J’aimeJ’aime
J’utilise deux Rehdeko réf. 115-5s superposés comme table de nuit ! Je viens de comparer écoute « externe » à écoute « interne ». Comparaison immédiate effectuée au même endroit (lit) par casque (Sennheiser HD650 précédé d’un DAT Audio-gd précédé d’un lecteur Marantz – lecture de Maria Grinberg live 1973 Bethoven sonata 12 report Scribendum enregistrement russe de qualité moyenne…)
Très surpris de la quasi identité et qualité d’écoute (précision sèche) je cherche sur le net et suis très surpris de trouver « rehdeko » puis le présent site! serais-je sans le savoir possesseur d’un trésor à préserver?! Je ne suis pas un fan audiophile mais simplement un amateur (= qui aime) la musique sans rechercher l’absolu !
Ce message donné comme information technique sans imaginaire préalable!
Toute information sera bienvenue ! DT
J’aimeJ’aime
Peu importe ce que tu penses des Rehdeko Tryphon (perso j’en pense beaucoup de bien), ton article est néanmoins très drôle et écrit dans une belle langue. Tu ne te prends pas au sérieux et quoiqu’on pense de ces enceintes – ou de ton article – l’agressivité de certains commentaires est un peu exagérée.
J’aimeJ’aime
Merci Bourru pour ce commentaire qui dénote une lecture intelligente de cet article. D’ailleurs il ne porte pas tant sur la qualité forcément subjective des enceintes Rehdeko que sur la personnalité ambivalente entre circassien et technicien de leur créateur et sur la communication assez délirante de la marque.
J’aimeJ’aime
Allez encore une fois « Rehd(é)ko
J’aimeJ’aime
Pingback: De l’évolution au transhumanisme : l’enceinte Dutch & Dutch 8c | Tryphonblog
Bonjour à tous ,
Je me souviens d’une démonstration des enceintes Rhédeko dans le magasin de Bastille à Paris menée par Weber Rhede et son fils au début des années 80. Si j ‘ai bonne mémoire ,après un exposé théorique le patron nous a fait comparer les niveaux sonores de sa clarinette en directe et reproduite par une de ses enceintes. Je n ‘ai d’autre souvenir que les niveaux reproduits très élevés .L ‘ambiance était fort sympathique . Je n ‘ai pas de jugement à produire quand à la qualité des enceintes mais tout celà a convaincu mon pote Henri Fernandez ( qu’es tu devenu Henri ?) d’acheter une paire du modèle de base à HP large bande. Je ne serais pas faché d’en écouter une paire aujourd’hui …
Bien nostalgiquement ,
Michel 64ans
J’aimeJ’aime
salut Michel .. il y a un groupe facebook ..rehdeko ..tu es le bienvenuet tu trouveras paut être quelqu’un près de chez toi qui te fera réécouter ses superbes enceintes
J’aimeJ’aime
quel dommage TRYPHON de retirer tous les commentaires qui ne sont pas à ton goût (de m….) as tu un ego surdimensionné à ce point, de ne pas accepter la critique?
J’aimeJ’aime
Il n’est pas dans mes habitudes ni de retirer des commentaires, ni de répondre sauf dans certains cas pour compléter ou corriger des points factuels. Dans ce cas précis, je me permettrai de commenter non pas sur le type d’éducation musicale qui conduit à apprécier les enceintes Rehdeko mais sur le tutoiement qui résulte d’un manque d’éducation tout court.
J’aimeJ’aime
This was a very interesting article. I am a long time fan and user of the Rehdeko (I have the 145-5s and 115-2s). Where did you find the information about Weber, his interest in cars and how the spring vibrator idea came to be? Thank you for this.
J’aimeJ’aime
Hello ,
I don’t remember but I suppose it was on the net .
Je ne sais plus mais c’est surement sur le net .
J’aimeJ’aime
Helllo mate nice post
J’aimeJ’aime